昆仑万维今日20%涨停,成交额102.89亿元,换手率16.37%。盘后龙虎榜数据显示,深股通专用席位买入6.08亿元并卖出4.24亿元线上股票配资炒股网,2家机构专用席位净买入2.13亿元,有1家机构专用席位净卖出9053.37万元。
举报 第一财经广告合作,请点击这里此内容为第一财经原创,著作权归第一财经所有。未经第一财经书面授权,不得以任何方式加以使用,包括转载、摘编、复制或建立镜像。第一财经保留追究侵权者法律责任的权利。如需获得授权请联系第一财经版权部:banquan@yicai.com 相关阅读
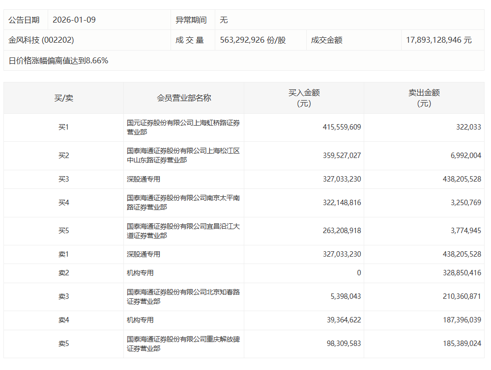
金风科技今日涨停线上股票配资炒股网,有2家机构专用席位净卖出4.77亿元金风科技今日涨停,有2家机构专用席位净卖出4.77亿元
0 19分钟前
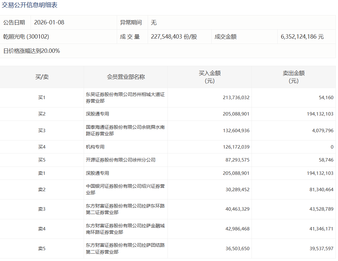
乾照光电今日20%涨停,1家机构专用席位净买入1.26亿元乾照光电今日20%涨停,1家机构专用席位净买入1.26亿元
16 昨天 16:31
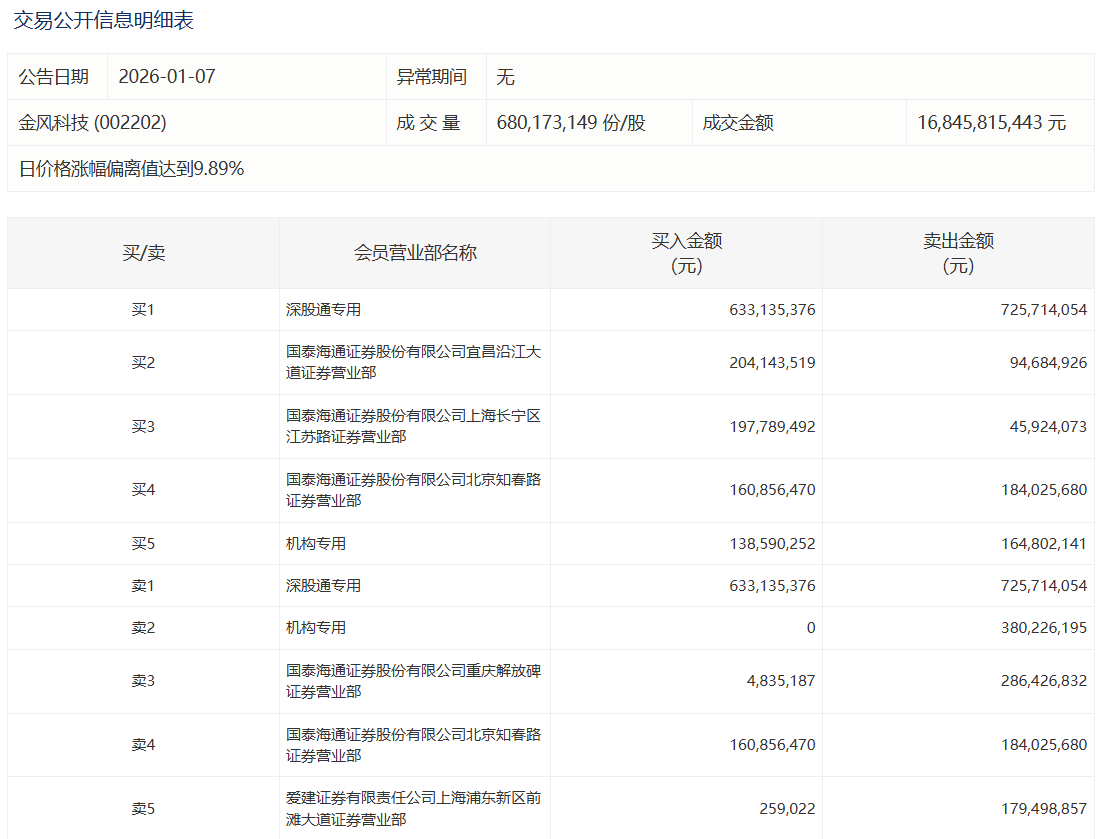
金风科技今日涨停,有3家机构专用席位净卖出6.92亿元金风科技今日涨停,有3家机构专用席位净卖出6.92亿元
22 昨天 16:28
美好医疗今日20%涨停,有4家机构专用席位净卖出3.71亿元美好医疗今日20%涨停,有4家机构专用席位净卖出3.71亿元
16 01-07 16:34
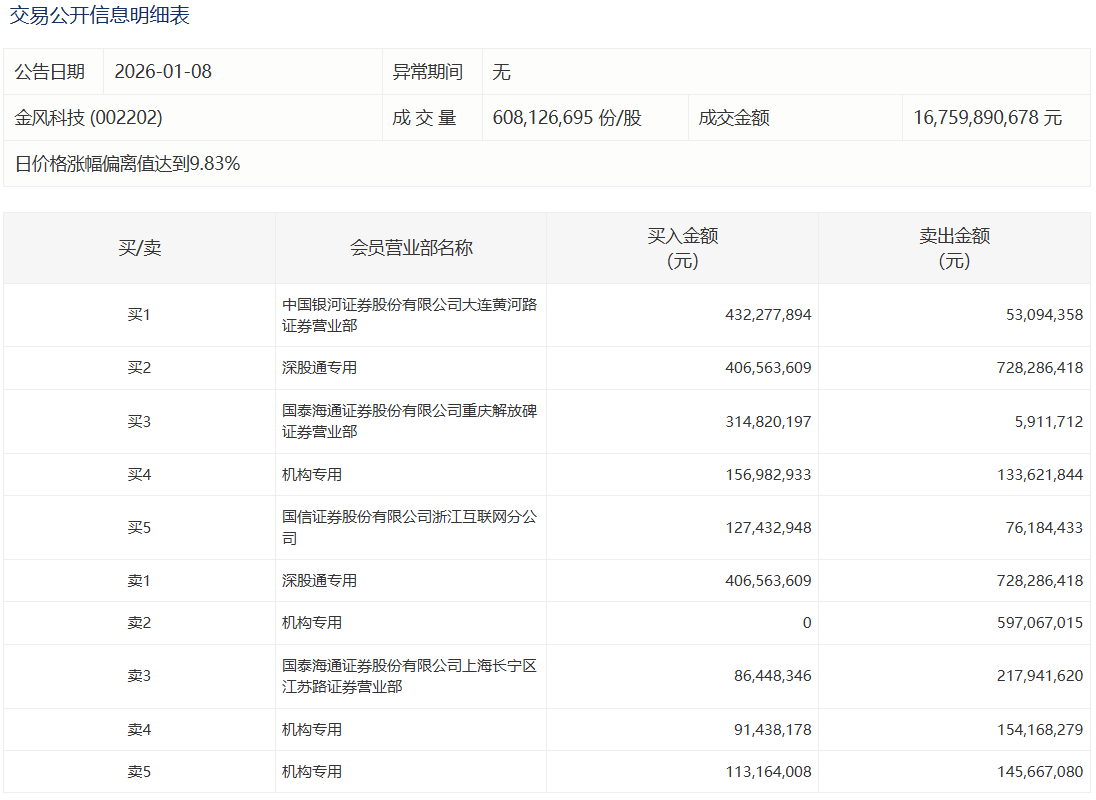
金风科技今日涨停,有2家机构专用席位净卖出4.06亿元金风科技今日涨停,有2家机构专用席位净卖出4.06亿元
0 01-07 16:28 一财最热 点击关闭龙辉配资提示:文章来自网络,不代表本站观点。